Files
KnowStreaming/docs/user_guide/user_guide_cn.md
2020-12-30 22:44:23 +08:00

48 KiB
Raw Blame History

Kafka Manager 云平台用户使用手册

文档概述

本文档提供了滴滴出行-Kafka Manager云平台产品的入门操作指导和详细配置指导希望通过本说明书为平台的使用者提供支持。

默认登陆密码: admin/admin

文档版本

012020-10-16

第一次正式发布。

目录

功能介绍

数据中心切换

用户可点击右上方数据中心切换入口,下拉选择需要访问的数据中心,点击完成切换。

目前可选择的有:国内

datacenter

访问帮助中心

用户可点击右上方帮助中心在下拉框中选择访问产品介绍、QuickStart、常见问题、联系我们。

  • 产品介绍:对平台各模块的功能做解释,并介绍相应操作。

  • QuickStart选择了部分重要的操作以实例为例介绍操作。如发送、消费数据申请App创建Topic申请集群权限。

  • 常见问题记录了对Kafka平台用户的答疑可以在这里找到一些常见问题的解决方案。

  • 联系我们快捷进入Kafka用户群可以找到Kafka平台的联系人。

helpcenter

个人中心

鼠标悬停导航栏右上方的头像,即可访问用户个人中心。

可以实现查看我的申请、我的审批、账单管理和退出系统的操作。

usercenter

工单查看-我的申请

可以查看到由当前用户申请的工单,可执行撤回、查看详情等操作。

操作步骤

步骤1鼠标悬停导航栏右侧用户头像>“我的申请”。

步骤2可以查看到由当前用户发起申请的工单。工单的状态共有四种待审批、已通过、已拒绝、已取消。

步骤3点击对应的tab页可快速查看审批中、已通过、全部状态的工单。

步骤4列表展示工单类型、工单ID、工单标题、申请原因、任务状态、操作。点击详情可以查看到工单详情如由谁审批当前进度等。

myapplication

工单查看-我的审批

可以查看到需要由当前用户审批的工单,并处理。

操作步骤

步骤1鼠标悬停导航栏右侧用户头像>“我的审批”。

步骤2可以查看到需要由当前用户审批的工单。

步骤3点击对应的tab页可快速查看审批中、已通过、全部状态的工单。

步骤4列表展示工单类型、工单ID、工单标题、申请原因、任务状态、操作。

dealtask

步骤5点击详情可以查看工单详情并进行操作。

审批操作有通过、驳回。

ticketdetail

账单管理

同时,“运维管控”模块也具备账单统筹查看的能力。可访问“运维管控”>"用户账单"。

操作步骤

步骤1鼠标悬停导航栏右侧用户头像>“账单管理”。

步骤2可以看到以列表和图表的形式展示的账单数据。

billdata

退出系统

步骤1鼠标悬停导航栏右侧用户头像>点击“退出”。

Topic管理

Topic管理面向普通用户可提供Topic相关的各操作。

我的Topic

用户可以在“我的Topic”模块查看到其有权限的Topic列表。权限分为可管理、可发送、可消费。并且对于自己有权限的Topic可以执行配额、分区申请采样重置消费offset等等操作具体可见以下内容

查看活跃Topic列表

操作步骤

步骤1点击“Topic管理”>“我的Topic”>"活跃Topic"。

步骤2点击【关联应用】、【集群】下拉框可以筛选想要查看目标应用或集群相关的Topic在【名称】输入框中输入关键字可以搜索目标Topic。

步骤3列表展示“Topic名称”、“Bytes in”、“Bytes out”、"所属集群"、“权限”、“关联应用”、“操作”等参数。

mytopic

步骤4部分属性支持表头排序和筛选。例如“权限”点击筛选按钮可以快速选择对应的权限。

申请新增Topic

操作步骤

步骤1点击“申请Topic”进入申请Topic弹框。

步骤2正确填写申请参数提交申请工单。

Topic名称允许数字、字母、下划线。

所属应用选择该Topic属于哪个应用。

峰值流量设置该Topic的流量上限值运维人员也会根据该值分配Topic配额。 点击“Kafka计价方式”可跳转查看费用说明。

topicapply

申请Topic配额

操作步骤

步骤1找到对应Topic,点击“申请配额”,弹出申请配额弹框。

步骤2正确填写申请参数点击确认提交申请工单。

applylocated

申请Topic分区

操作步骤

步骤1找到对应Topic,点击“申请分区”,弹出申请分区弹框。

分区数:填写需要的分区数。请根据实际情况填写。

备注:填写申请理由。

注意如果topic已被限流则直接申请配额即可无须申请分区。

步骤2正确填写申请参数点击确认提交申请工单。

zoomapply

申请Topic下线

对于有管理权限的Topic可以申请下线该Topic.

操作步骤

步骤1找到对应Topic,点击“申请下线”,弹出申请分区弹框。

步骤2如果连接信息不为空则表示该Topic当前有客户端在使用如果下线该Topic可能会影响相关业务。

必须先至客户端侧关闭再下线Topic。

步骤3正确填写申请参数点击确认提交下线申请工单。

topicoffline

编辑Topic

对于有管理权限的Topic可以编辑该Topic.

操作步骤

步骤1找到对应Topic,点击操作栏中“更多”>“编辑”,弹出编辑弹框。

步骤2可以编辑备注内容点击确认完成编辑。

edittopic

查看Topic基本信息

操作步骤

步骤1点击Topic名称即跳转进入详情页可查看该topic的详情。

步骤2点击“基本信息”可查看当前Topic的基本信息。见下图。

专业名词介绍

  • 健康分越高表明越健康用户可以通过该指标评估该Topic所关联的broker的运行状况是否有异常等。

  • 物理集群IDTopic所关联等物理集群ID当客户端使用该平台Topic时可能需要知道集群ID。

  • 服务地址Bootstrap SeversTopic所关联等物理集群的服务地址。

topicbasicinfo

采样

操作步骤

步骤1点击Topic名称即跳转进入详情页可查看该topic的详情。

步骤2点击【采样按钮】可以通过采样了解该Topic的数据样例。

查看Topic状态图

操作步骤

步骤1点击Topic名称即跳转进入详情页可查看该topic的详情。

步骤2点击“状态图”即可查看当前Topic的各指标图表。

步骤3可查看历史流量和历史耗时信息相关的各指标。点击“指标说明”可跳转查看各指标的含义说明。

步骤4支持下拉切换指标查看并可自定义选择时间段。

topictable

查看Topic与客户端的关联信息

操作步骤

步骤1点击Topic名称即跳转进入详情页。

步骤2点击“连接信息”即可查看当前Topic与哪些客户端有关联。

步骤3列表展示“AppID”-客户端使用的App、“主机名”-客户端运行的机器、“客户端版本”、“客户端类型”。部分字段支持表头筛选。

topicinfoconnect

查看Topic消费组信息

消费组不需要申请,由系统自动生成。当客户端正常消费时,自动生成消费组。

操作步骤

步骤1点击Topic名称即跳转进入详情页。

步骤2点击“消费组信息”即可查看当前Topic有哪些消费组。列表展示“消费组名称”、“AppID”、“Location”broker或zookeeper。部分字段支持表头筛选。

topicinfoconsumer

步骤3点击消费组名称可查看该消费组的信息如"Partition ID"、“Consumer ID”、“Consume Offsset”、“Partition Offsset”、“Lag”.

专业名词解释

Lag表示该消费客户端是否有堆积等于 partition offset-consume offset。

topicconsumerinfo

重置Topic的消费offset偏移

操作步骤

步骤1在上一步的基础上点击【重置offset】按钮出现重置消费offset偏移的弹框。

步骤2需注意重置消费offset之前需要关闭消费客户端并等待几分钟后再执行重置操作。否则会操作失败。

步骤3可在弹框内选择重置到最新的offset或某个时间的offset; 或重置至指定的分区伤的某个offset。点击重置操作成功。

consumeroffset

查看Topic分区信息

操作步骤

步骤1点击Topic名称即跳转进入详情页。

步骤2点击“分区信息”即可查看当前Topic各分区的信息。

步骤3列表展示“分区ID”、“BeginingOffset”、“EndOffset”、“MsgNum”、“Leader Broker”、“LogSize”、“优选副本”、“AR”、“ISR”、“是否同步”。部分字段支持表头筛选。

topicpartition

查看Topic的Broker信息

操作步骤

步骤1点击Topic名称即跳转进入详情页。

步骤2点击“Broker信息”即可查看当前Topic的broker信息。

步骤3列表展示“BrokerID”、“Host”、“Leader个数”、“分区LeaderID”、“分区个数”、“分区ID”。部分字段支持表头筛选及排序。

查看Topic关联的应用信息

操作步骤

步骤1点击Topic名称即跳转进入详情页。

步骤2点击“应用信息”即可查看当前Topic的应用信息。

步骤3列表展示“应用ID”、“应用名称”、“负责人”、“生产配额”、“分区个数”、“分区ID”。部分字段支持表头筛选及排序。

topicapp

查看Topic的账单信息

操作步骤

步骤1点击Topic名称即跳转进入详情页。

步骤2点击“账单信息”即可查看当前Topic的账单信息以图表的形式展示数据走向。

topicaccount

查看broker的详细信息

查看broker的基础及监控信息

操作步骤

步骤1在topic的详情页点击BrokerID,即可看到Broker的详细信息。

brokerinfo

brokerinfolis

步骤2点击“监控信息”即可查看broker的一些指标图表以图表的形式展示数据走向。

brokertable

查看broker的关联topic信息

操作步骤

步骤1在topic的详情页点击BrokerID,即可看到Broker的详细信息。

步骤2点击“Topic信息”即可查看与该broker相关的Topic列表。

brokertopic

查看broker的磁盘信息

操作步骤

步骤1在topic的详情页点击BrokerID,即可看到Broker的详细信息。

步骤2点击“磁盘信息”即可查看与该broker相关的磁盘列表。

brokerrask

查看broker的partition信息

操作步骤

步骤1在topic的详情页点击BrokerID,即可看到Broker的详细信息。

步骤2点击“partition信息”即可查看与该broker相关的partition列表。

brokerpartition

查看broker的Topic分析情况

操作步骤

步骤1在topic的详情页点击BrokerID,即可看到Broker的详细信息。

步骤2点击“Topic分析”即可查看其使用的Topic情况。

brokertopicana

已过期Topic

操作步骤

步骤1在“我的topic”模块点击“已过期Topic”可以查看到与自己相关、但已过期的Topic。

步骤2可以通过筛选项筛选目标Topic。

expiredtopic

全部Topic

“全部Topic”模块以列表的形式展示所有的Topic用户可以在这里申请目标Topic的相关权限。

查看全部Topic列表

操作步骤

步骤1点击“Topic管理”>“全部Topic”. 列表展示全部Topic“Topic名称”、“所属集群”、“Topic描述”、“负责人”。

步骤2可以通过筛选项筛选目标Topic。

步骤3点击Topic名称可进入详情页。详情内容与查看方式与“我的Topic”模块一致。

expiredtopic

申请Topic权限

操作步骤

步骤1点击“Topic管理”>“全部Topic”. 对于想申请/增加权限的Topic点击“申请权限”出现申请权限弹框。

步骤2正确填写参数选择需要申请权限的应用并选择权限类型点击确认提交工单。

applytopicright

申请扩Topic的配额

操作步骤

步骤1如果用户当前已有该topic的权限点击Topic名称进入详情页。详情内容与查看方式与“我的Topic”模块一致。

步骤2

applytopicright

应用管理

应用管理可以查看到当前用户关联到应用列表。

操作步骤

步骤1点击“Topic管理”>"应用管理"进入应用管理列表页。

步骤2列表展示“APPID”、“应用名称”、“应用描述”、“负责人”、“操作”。

appmanager

申请应用

平台的权限申请、扩分区等操作,均需要先用应用去申请操作的权限。如果用户没有应用,需要先绑定或申请应用。

操作步骤

步骤1点击列表右上方的“申请应用”打开应用申请弹框。

步骤2需要填写应用名称、负责人至少选择两人、应用描述阐述应用相关用途及申请原因。填写完成后点击确认提交申请。

applyapp

修改应用

操作步骤

步骤1点击操作中的"修改",打开修改弹窗。

步骤2可以修改应用名称 负责人、应用描述。

步骤3点击【确定】操作成功。

editapp

申请下线应用

操作步骤

步骤1点击操作中的"申请下线",打开下线弹窗。

步骤2弹框内展示该app目前正在使用的的主机信息需要先关闭对应主机的Kafka发送/消费客户端才能下线。

appoffline

查看应用详情

操作步骤

步骤1点击应用名称可以查看应用详情。

步骤2点击【创建的Topic】可以查看到该应用创建的Topic列表。

apptopic

步骤3点击【有权限的Topic】可以查看该应用有权限的Topic列表。

取消应用对topic的权限

操作步骤

步骤1点击【取消权限】打开取消权限的弹框。

步骤2选择想取消的权限点击确认可以取消应用与该topic的权限关系。

cancelright

集群管理

我的集群

查看我的集群列表

操作步骤

步骤1点击“集群管理”>"我的集群",查看与我相关的集群列表。

步骤2选择想取消的权限点击确认可以取消应用与该topic的权限关系。

cancelright

申请集群

操作步骤

步骤1点击“集群管理”>"我的集群">【申请集群】,打开申请集群弹框。

步骤2数据中心默认为当前所处的数据中心

所属应用:选择在哪个应用下创建集群。

集群类型:选择创建的集群为“独享”还是“独立”。

  • 独享集群意味着,您独自拥有一个 集群;

  • 独立集群意味着您拥有一个集群中部分broker的使用权限。

  • 共享集群意味着大家共用一个集群及其中broker。

峰值流量:选择峰值流量限制。并支持自定义输入。

申请原因:填写申请集群的原因,用途,稳定性要求等等。

步骤3填写完成后点击提交即可提交申请。

备注说明集群创建后还需在此基础上创建region、逻辑集群。具体操作可参照 集群接入手册

applycluster

申请集群下线

对于自己独享的集群,可以申请下线。

操作步骤

步骤1点击“集群管理”>"我的集群",查看与我相关的集群列表。

步骤2点击【申请下线】打开申请下线弹框。

步骤2弹框内展示是否有与该集群相关的活跃topic,如果有则无法下线该集群。需要先下线相应topic。

offlinecluster

集群扩缩容

对于自己独享的集群,可以申请扩缩容。

操作步骤

步骤1点击“集群管理”>"我的集群",查看与我相关的集群列表。

步骤2点击【扩缩容】打开申请扩缩容的弹框。

步骤2下拉选择申请类型扩容或缩容

申请原因:填写申请扩缩容的原因。

点击确认提交。

editzroom

查看集群详情

操作步骤

步骤1点击集群名称进入集群详情页。

步骤2查看集群的基本信息集群名称、集群类型、集群名称逻辑集群名、集群类型逻辑集群类型, 0:共享集群, 1:独享集群, 2:独立集群 、接入时间、物理集群Id、Kafka版、Bootstrap Severs、Kafka版本集群版本、Bootstrap Severs集群服务地址。以及实时流量列表、历史流量图表。

clusterdetail

查看集群topic列表

操作步骤

步骤1点击集群名称进入集群详情页。

步骤2点击“Topic信息”查看集群相关的topic列表。展示Topic名称、QPS、Bytes InKB/s、所属应用、保存时间h、更新时间、Topic说明。

clustertopic

步骤3点击Topic名称可跳转至Topic的详情页。

查看集群Broker列表

操作步骤

步骤1点击集群名称进入集群详情页。

步骤2点击“Broker信息”查看集群相关的Broker列表。展示ID、主机、Prot、JMX Port、启动时间、Byte InMB/s、Byte OutMB/s、副本状态、状态.

clusterbroker

查看集群topic的限流情况

操作步骤

步骤1点击集群名称进入集群详情页。

步骤2点击“限流信息”展示Topic名称、应用ID、类型、Broker、类型客户端类型[Produce|Fetch]、BrokerBrokerId列表。

limit

监控告警

告警列表

操作步骤

步骤1以列表的形式展示每个告警规则的告警情况。告警名称、应用名称、操作人、创建时间、操作。 步骤2可通过下拉筛选想查看的应用或输入关键字匹配告警。

limit

新建告警规则

操作步骤

步骤1点击“新建规则”进入新建告警规则页面。 createalarmrule 步骤2填写告警基本信息规则名称

选择指标可以选择对部分集群、部分topic、部分消费组生效。

报警策略:可以选择周期、连续发生、同比变化率、突增突降值、突增突降率、求和等计算方式。

strategy

  • 如以下图为例表示在最近连续3个周期内如有两次指标值大于等于阈值90%,则触发告警。

alarmruleex

步骤3生效时间选择告警规则生效的时间段。

如下图,则表示在每周一至周日的凌晨-晚23点如果产生了告警都会进行上报。

alarmruletime

步骤4配置发送信息告警通知时间段。

选择指标可以选择对部分集群、部分topic、部分消费组生效。

步骤5配置发送信息

报警级别:设置告警级别。

报警周期(分钟):设置告警通知的周期。

周期内报警次数:设置在一个周期内,最多产生多少条告警。

报警接受组:设置报警通知的群组。

回调地址: 指对于该告警如果有相应处理措施,则可以通过回调该地址执行。

  • 如下图则表示本条规则的产生的告警为3级告警以4分钟为一个周期进行通知并且一个周期内最多通知2次。通知对象为pborder群组内的联系人。

alarmrulesent

步骤6点击【提交】完成规则的设置。

查看该条规则的历史告警

操作步骤

步骤1点击规则名称进入详情页。点击“告警历史”tab页。查看相关历史告警。

步骤2列表展示监控名称、开始时间、结束时间、状态、监控级别。

步骤3可通过点击快捷时间筛选来选择查看近三天或近一周的告警情况。

alarmhistory

告警规则屏蔽

操作步骤

步骤1点击规则名称进入详情页。点击“屏蔽历史”tab页查看屏蔽历史。

步骤2列表展示监控名称、开始时间、结束时间、备注、操作。

alarmruleforbiddenhistory

运维管控

集群列表

操作步骤

步骤1点击"运维管控">“集群列表”,以列表的形式向运维侧人员展示集群信息。

步骤2列表展示集群ID、集群名称、Topic数、Broker数、Consumer数、Region数、ControllerID、是否监控、操作。

步骤3可通过列表左上方的搜索框输入集群名称关键字搜索对应的集群。

opcluster

新增集群

操作步骤

步骤1点击集群列表右上方的【注册集群】打开集群申请弹框。

步骤2集群名称设置创建的集群名称。

Zookeeper地址输入Zookeeper地址。

bootstrapServers地址输入bootstrapServers地址。

数据中心:默认为当前登录的数据中心。

集群类型:设置集群的类型。可选择共享集群、独立集群、独享集群。各集群对应的含义可见2.1.2 申请集群)

安全协议:非必填,请输入安全协议。

步骤3点击【确认】提交申请单。

opapplycluster

修改集群

操作步骤

步骤1点击集群列表“操作”栏中【修改】打开修改弹框。

步骤2仅可修改集群类型和安全协议两项。

步骤3点击【确认】完成修改。

editcluster

暂停/开始集群监控

操作步骤

步骤1点击集群列表“操作”栏中【暂停监控】。

步骤2在气泡确认框中点击确认可暂停对该集群对监控。

stopclustermo

步骤3当集群监控停止后可以通过点击集群列表“操作”栏中【开始监控】打开对集群的监控。

startclustermo

删除集群

操作步骤

步骤1点击集群列表“操作”栏中【删除】。

步骤2在二次确认弹框中会显示该物理集群上是否有逻辑集群。如果有则无法直接删除需要先将逻辑集群删除后再删除该物理集群。

deletcluster

步骤3在集群的详情页选择“逻辑集群信息”tab页删除逻辑集群。完成后即可进行物理集群删除操作。

logicclusterdele

查看集群详情

集群详情包括集群概览、Topic信息、Broker信息、消费组信息、Region信息、逻辑集群信息、Controller变更历史、限流信息。

查看集群详情-集群概览

操作步骤

步骤1点击集群名称进入详情页。

步骤2点击“集群概览”查看集群基本信息集群名称、集群类型、接入时间、kafka版本、Bootstrap Severs、Zookeeper。

以及实时流量、历史流量数据的图表。

clusterinfobrief

步骤3点击【指标说明】可以查看所有指标的含义。

查看集群详情-Topic信息

操作步骤

步骤1点击集群名称进入详情页。

步骤2点击“Topic信息”查看Topic列表。并展示字段Topic名称、QPS、Bytesin、所属应用、保存时间、更新时间、Topic说明、操作。

部分列支持表头排序或筛选。

步骤3点击Topic名称可以查看该Topic详情并可以对其进行编辑、扩分区、删除操作。

clustertopicop

查看集群详情-Broker信息

操作步骤

步骤1点击集群名称进入详情页。

步骤2点击“Broker信息”显示各Broker峰值使用率情况和副本同步的情况以饼图的形式展示分布。

查看Broker列表。并展示字段ID、主机、Port、JMX Port、启动时间、Bytes in、Bytes out、峰值状态、副本状态、regionName、状态、操作。 部分列支持表头排序或筛选。

clusterbrokerop

查看集群详情-Broker信息-Leader Rebalance

操作步骤

步骤1点击集群名称进入详情页。

步骤2在broker列表上方点击【Leader Rebalance】打开弹框。

步骤3集群名称默认为当前集群下拉选择要执行的Broker。点击确认完成操作。

LeaderRebalance

查看集群详情-Broker信息-Broker详情

操作步骤

步骤1点击集群名称进入详情页。点击Broker信息tab页。

步骤2点击ID名称可跳转至Broker详情页。

步骤3可查看基本信息、监控信息、Topic信息、磁盘信息、partition信息、Topic分析。具体操作介绍可见“1.2 查看broker的详细信息”

clusterbrokerdetail

clusterbrokermo

brokerraskop

brokerpartitionop

brokertopicana

查看集群详情-消费组信息

操作步骤

步骤1点击集群名称进入详情页。

步骤2点击“消费组信息”查看消费组列表。

步骤3可查看消费组名称、location、操作。点击详情可查看消费的Topic有哪些。

consumergroup

consumertopic

查看集群详情-Region信息

操作步骤

步骤1点击集群名称进入详情页。

步骤2点击“Region信息”查看Region列表。

步骤3可查看regionID、region名称、BrokerIdList、location、预估容量、实际流量、预估流量、修改时间、状态、备注、操作。

brokerregion

查看集群详情-新增Region

操作步骤

步骤1点击“新增Region”打开新增region弹框。

步骤2region名称填写region名称。

集群名称:默认为当前集群名称。

Broker列表选择broker。

状态:可选择正常、容量已满。

备注:可输入申请的原因。

createregion

查看集群详情-编辑Region

操作步骤

步骤1点击操作栏中的“编辑”打开编辑region弹框。

步骤2可编辑region名称、Broker列表、状态、备注。

editregion

查看集群详情-删除Region

操作步骤

步骤1点击操作栏中的“删除”出现二次确认气泡框。

步骤2点击【确认】即可完成删除。

deleteregion

集群运维

迁移任务

操作步骤

步骤1点击“运维管控”>"集群运维">"迁移任务",可查看迁移任务列表

步骤2展示迁移任务名称、创建时间、创建人、Topic数量、任务状态、进度、操作

migrationtask

新建迁移任务

操作步骤

步骤1点击“运维管控”>"集群运维">"迁移任务",可查看迁移任务列表

步骤2点击【新建迁移任务】打开新建任务的弹框。

集群名称:下拉选择目标集群。

Topic名称选择目标集群上的topic。

类型选择region或者broker。

分区ID

计划开始时间:设置迁移的计划开始时间。

原本保存时间默认24小时。

迁移保存时间:

等等。点击【确认】,完成任务的创建。 createtask

迁移任务详情

操作步骤

步骤1点击任务名称可查看任务详情。

步骤2展示了任务名称、创建时间、创建人、计划开始时间、完成时间、任务说明。以及涉及topic列表。

migrationtaskdetail

集群任务

操作步骤

步骤1点击“运维管控”>"集群运维">"集群任务",可查看集群任务列表

步骤2展示迁移任务名称、创建时间、创建人、Topic数量、任务状态、进度、操作

clustertask

新建集群任务

操作步骤

步骤1点击“运维管控”>"集群运维">"集群任务",可查看迁移任务列表

步骤2点击【新建集群任务】打开新建集群任务的弹框。

集群名称:下拉选择目标集群。

任务类型:选择集群升级(按角色)、集群升级(按主机)、集群部署、集群回滚、集群扩容。

包版本:选择操作的包版本。

server配置下拉选择server配置。

等等(根据以上选择情况的不同,会有不同参数的选择)

主机列表:输入或粘贴主机列表,以回车键分割。

点击【确认】,完成任务的创建。 createclustertask

集群任务详情

操作步骤

步骤1点击【详情】可查看任务详情。

步骤2展示了任务ID、集群ID、集群名称、创建时间、Kafka包、kafka包 MD5、操作人、server配置名、server配置 MD5。

以及升级主机列表、升级主机暂停点。

clustertaskdetail

步骤3点击【任务进度详情】tab,可切换查看任务进度详情。

taskprogress

步骤4点击列表内的【查看日志】,可查看该任务的详细日志。

tasklog

版本管理

操作步骤

步骤1点击“运维管控”>"集群运维">"版本管理",可查看当前的版本列表。

步骤2展示ID、集群名称、配置类型、文件名称、MD5、更新时间、更新人、备注、操作。

步骤3对于配置类文件点击“文件名称”列可以查看到该配置的详情。

集群名称是 *

Versionmanagement

上传配置

操作步骤

步骤1点击【上传配置】打开上传配置弹框。

步骤2文件类型选择上传的文件为Kafka压缩包或KafkaServer配置。

上传:选择需上传的文件。

备注:输入备注信息,如输入上传的原因等。

步骤3点击【确认】完成上传。

uploadversion

平台管理

应用管理-查看应用列表

操作步骤

步骤1点击"运维管控">"平台管理">"应用管理"。

步骤2显示平台应用列表展示AppID、应用名称、应用描述、负责人、操作修改、详情查看、申请下线

appmanager

查看应用详情

操作步骤

步骤1点击"运维管控">"平台管理">"应用管理"。

步骤2显示平台应用列表点击AppID名称进入App详情页。

appdetailop 步骤3点击【创建的Topic】可以查看到该应用创建的Topic列表。

步骤4点击【有权限的Topic】可以查看该应用有权限的Topic列表。

修改、申请下线等操作与用户侧-应用管理一致可参见“1.4 应用管理”

用户管理-用户列表

操作步骤

步骤1点击"运维管控">"平台管理">"用户管理"。

步骤2显示平台用户列表展示用户名、角色权限、操作修改、删除

usersmanager

用户管理-编辑用户

操作步骤 步骤1点击操作栏内的【修改】打开修改弹窗。

步骤2可以修改用户名、用户角色。

edituser

用户管理-添加用户

操作步骤 步骤1点击列表上方的【添加用户】打开添加用户弹框。

步骤2输入用户名称、选择用户角色即可添加用户。

createusers

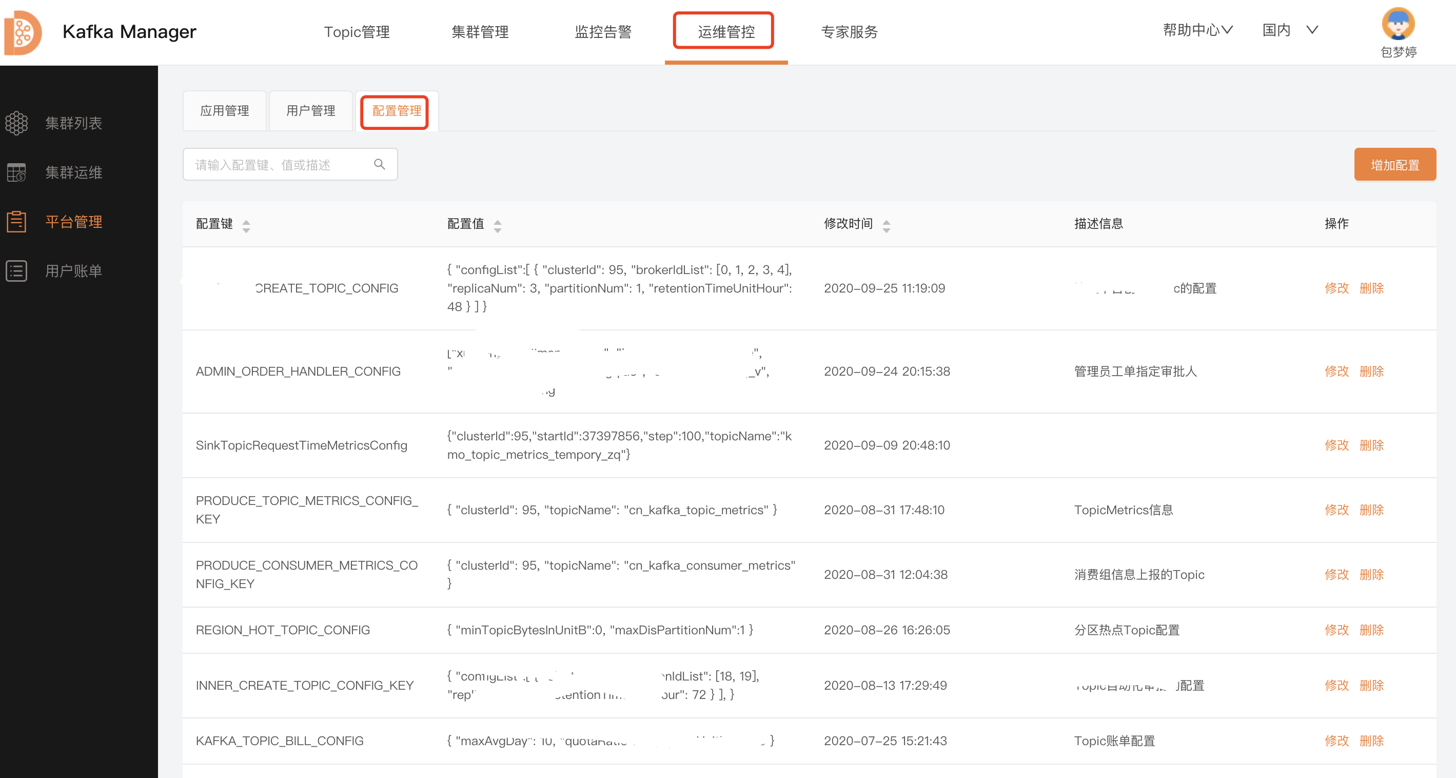
配置管理-配置列表

操作步骤 步骤1点击"运维管控">"平台管理">"配置管理"。

步骤2列表展示配置键、配置值、修改时间、描述信息、操作修改、删除。部分列支持表头筛选和排序。

configuremanager

配置管理-编辑配置

操作步骤 步骤1点击"运维管控">"平台管理">"配置管理"。

步骤2点击列表操作栏中的【修改】按钮打开修改弹框。可以修改配置键、配置值、备注信息。

editconfigure

配置管理-删除配置

操作步骤 步骤1点击"运维管控">"平台管理">"配置管理"。

步骤2点击列表操作栏中的【修改】按钮打开修改弹框。可以修改配置键、配置值、备注信息。

deleteconfigure

用户账单

个人账单

操作步骤 步骤1点击"运维管控">"账单管理">"个人账单"。

步骤2展示个人账单列表显示时间精确到月、用户名、Topic数量、时间、Quota、金额情况。

步骤3可根据时间、用户名筛选查看账单。

userbill

专家服务

Topic分区热点

操作步骤 步骤1点击"专家服务">"Topic分区热点">"分区热点Topic"。

步骤2展示所有Topic列表并可以根据物理集群、Topic名称进行筛选。

列表显示Topic名称、所在集群、分区热点状态鼠标悬停可以查看具体的说明、操作数据迁移

数据迁移操作

操作步骤 步骤1点击"专家服务">"Topic分区热点">"分区热点Topic"。

步骤2可选择单个topic、或批量选中多个topic进行数据迁移操作。如图。

hotpointtopic

步骤2点击【数据迁移】之后出现迁移任务填写抽屉式弹框

migrationtaskset

迁移任务

操作步骤 步骤1点击"专家服务">"Topic分区热点">"迁移任务"。

步骤2可查看迁移任务列表展示迁移任务名称、创建时间、创建人、Topic数量、任务状态、进度、操作。

migrationtasklist

步骤2点击任务名称可以查看到任务详情。

migrationtaskdetail

Topic分区不足

操作步骤 步骤1点击"专家服务">"Topic分区不足"

步骤2可查看Topic名称所在集群、分区个数、分区平均流量、近三天峰值流量、操作。

步骤3可通过选择集群、Topic名称查找目标Topic。

topicunenough

Topic资源治理

操作步骤 步骤1点击"专家服务">"Topic资源治理"

步骤2可查看Topic名称所在集群、过期天数、发送连接、消费连接、创建人、状态、操作通知用户

步骤3可通过选择集群、Topic名称查找目标Topic。

步骤4点击通知用户可以通知用户该Topic已过期。

topicresource

Topic异常诊断

操作步骤 步骤1点击"专家服务">"异常诊断"。

步骤2可查看Topic名称所在独享集群、IOPS、流量。

步骤3可通过时间筛选查看时间范围内的异常topic。

errordiagnosis